Каталог товаров

Электропривод belimo LM24A-SR

Код: РВ000001386
Нет в наличии
Страна происхождения
ШВЕЙЦАРИЯ
Единица измерения
шт
Вес (кг)
0.41
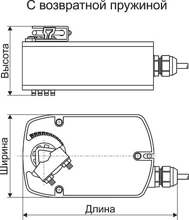
Высота (мм)
61
Длина (мм)
157
Ширина (мм)
66
Цена уточняется
Описание товара
Характеристики
Описание товара
Электропривод без возвратной пружины предназначен для управления воздушными заслонками и клапанами.
Характеристики товара

Технические характеристики электроприводов без возвратной пружины

 

Тип

привода

Номинальное

напряжение, В

Крутящий

момент, Н·м****

Площадь

заслонки, м²****

Потребляемая мощность, при вращении/в состоянии покоя, Вт

Управление

LM24A-SR

24

5

1

1/0,4

Плавная регулировка

сигналом 0…10 В=

* Подбор электропривода осуществляется по крутящему моменту и площади поперечного сечения заслонки.

** Вспомогательный переключатель: 1 однополюсный, 1 мА…3(0,5) А, 250 В~(настраивается 0 ... 100%)

*** Площадь заслонки указана справочно. При выборе электропривода необходимо учитывать также величину необходимого крутящего момента.

Принцип действия (для моделей LM24A-SR, NM24A-SR, SM24A-SR, GM24A-SR). Электропривод управляется стандартным управляющим сигналом 0…10 В=. Он открывается до положения, продиктованного сигналом. Измеряемое напряжение U позволяет отображать действительное положение электропривода электрическим способом, а также управлять другими электроприводами.

Установка. Простая установка непосредственно на вал заслонки при помощи универсального захвата, снабжается фиксатором, предотвращающим вращение корпуса электропривода.

Ручное управление. Возможно ручное управление при помощи кнопки с самовозвратом (при нажатой кнопке редуктор выводится из зацепления).

Надежность. Электропривод защищен от перегрузки, не требует конечных выключателей и останавливается автоматически при достижении конечных положений.

 

Электрическая схема подключения


Эл_схема LM24A-SR, NM24A-SR, SM24A-SR ,GM24A-SR.jpg